欢迎光临~伟德国际1949
:400-800-8232、13922709440

新闻中心

核化污染洗消车对核化污染救治洗消流程对策

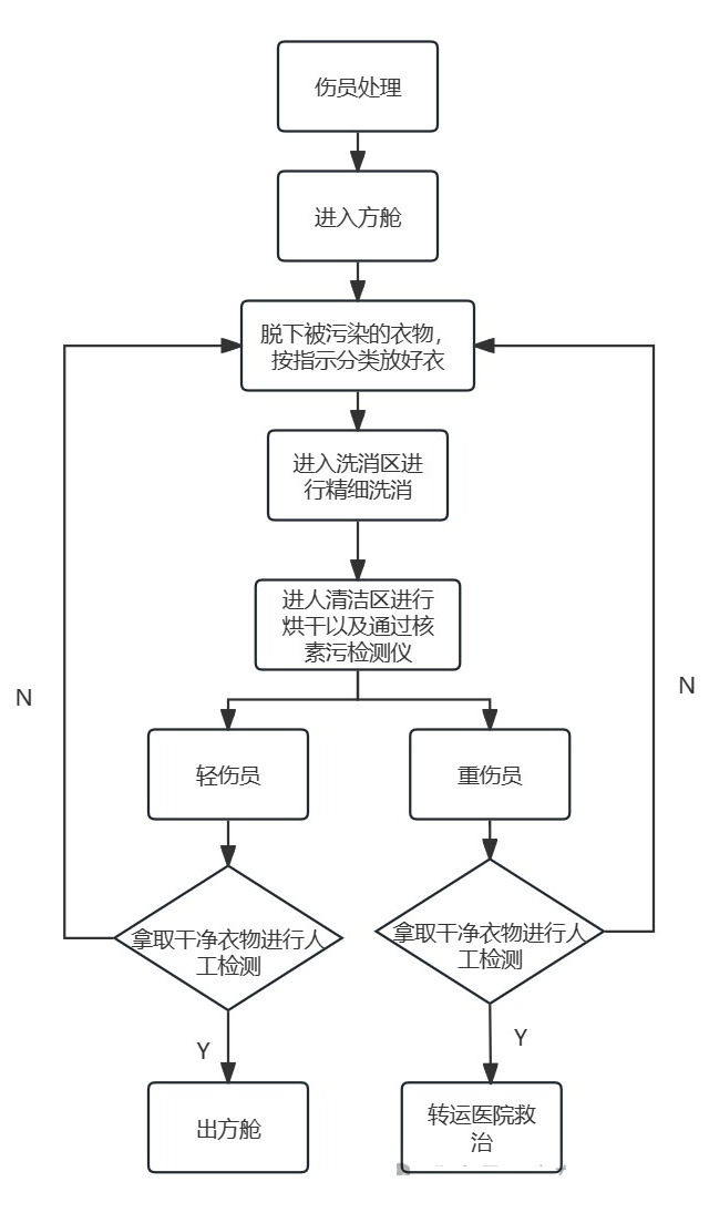
核化应用在各行各业都有广泛使用,一旦发生核化事件。怎样进行安全有效的洗消医学救治?这时候需要良好的洗消工具来应对卫生辐射事件。核化污染洗消车的处理对策有以下流程。
伤员处理->进入核化污染洗消车->脱下被污染的全身衣物->按分类放好衣服物品->在洗消区进行精细洗消->进入清洁区进行烘干跟核污染素检测->(轻伤员拿干净衣服进行检查->出洗消车)->(重伤人员拿干净衣服进行检查->转运到医院救治)

污染区、洗消区、清洁区、油机区科学分布合理,功能齐备,可负荷30名伤员同时洗消,效率高。机动性高通过性好,


(1)污染区:区域内设置6个废弃物处理桶,方便伤员更换衣物,确保污染物得到妥善处理;
(2)洗消区:配备洗消区和洗消床,底部设有废水池和抽水泵,确保废水安全处理;配备冷热水供给及污水回收储存系统。
(3)清洁区:设有烘干器、椅子、翻板桌等,方便人员完成洗消后进行全身烘干和最终检测;
(4)油机区:放置发电机、柴油热水器等设备,并配置消防保护措施,确保设备安全运行;

导航栏目



联系我们

联系人:13922709440 余先生

销售热线:0724-4016818

售后服务:19171569097

服务热线:400-800-8232

邮 箱:xianhao266@163.com

公 司:伟德国际1949

地 址:湖北省钟祥市南湖新区协企联盟产业园C6栋


用手机扫描二维码关闭
二维码